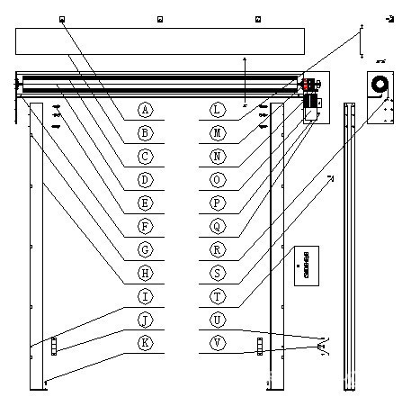
产品外观分解及各部分介绍

A-角铁(固定门体导轨附件);B-封板(防尘);C-PVC布帘;D-轴(轴径Φ100);E-Φ8螺丝(固定导轨和侧板);F-穿线孔(光电线穿过);G-穿线管(固定走线位置);H-带毛刷导轨(帘布走位槽);I-穿线孔(带P接头);J-光电支架(固定光电);K-地脚螺丝(固定导轨);L-封板(防尘);M-轴承(减少摩擦);N-编码器(定位);O-电机;P-电机运转摇杆(手动转动杆);Q-抱闸杆(抱闸解除);R-帘布下摆(防止帘布摇摆);S-雷达/遥控器;T-控制柜;U-钻尾钉;V-光电。


