通常情况在乐虎88国际 跟快速门厂家购买了快速门后,快速门厂家都是会上门帮助乐虎88国际 安装的,毕竟有很多快速门安装步骤是乐虎88国际 不明白的。但是也有个例,对一少部分人来说,会由于某些原因,他们只能自己安装快速门。但无论如何,当乐虎88国际 安装快速门时,掌握一些快速门安装注意事项是必须的。今天,乐虎88国际快速门厂家就来教大家一些安装快速门的技巧吧!
乐虎88国际快速门厂家提示:安装快速门之前,我门得事先准备好安装工具。

一、安装快速门前事项,施工前将下列事项务必确认
1.在安装现场对建筑物门洞的尺寸进行确认。
2.在安装现场对周边安装位置、障碍物有无、墙体是否在同一平面进行确认。

二、施工安装快速门之前请务必准备好以下所需工具。
1、3-10内六角扳手。2、6mm锤头。3、7.5米钢卷尺。4、8-10扳手。5、8mm锤头。6、14-17扳手。7、板子头。8、角磨机。9、手拉葫芦。10、电钻。11、电锤。12、12*350加长钻头。13、F夹子。14、锤子。15、水平管。16、梅花螺丝刀。17、钳子。18、胶锤。19、吊锤。20、17-19套管扳手。21、一字螺丝刀。
乐虎88国际快速门厂家提供安装快速门方法详细介绍。
1、安装快速门的相关人员在安装前必须有做过类别的经验,熟悉快速门的设计和安装图纸,安装前检查现场线路是否到位,并在安装前做好其他准备,包括临时部件、安装工具等。
2、安装快速门前仔细检查设计图纸尺寸是否与现场洞口尺寸一致。导轨支架的数量和外观颜色是否正确。预埋件安装在现场洞口,支架埋件位置是否准确。
3、安装快速门工作流程大致分为现场洞口杂物处理、定位弹线、固定快速门卷筒传动装置、空载试运行,安装帘板,安装固定导轨,测试快速门功能,清理现场。
4、检查洞口是否与生产产品尺寸一致,一般现场洞口宽度和高度不宜大于5m,建议安装堆积门,检查预埋件的位置和数量是否正确。
5、现场定位弹线。测量安装孔标高,用墨线弹出两条导轨垂直和卷筒Z心线,便于安装。

6、螺钉固定卷筒和传动装置。将垫板焊接在预埋铁板上,用螺钉固定卷筒的左右支架,安装固定卷筒,检查卷筒安装后转动是否灵活,安装减速器和传动系统,安装电气控制箱。
7、空载试验。正常通电后,检查快速门电机。减速器是否正常工作,卷筒转动方向和速度是否正确。
8、安装快速门帘将门帘组装好,然后安装固定在卷筒上。
9、安装快速门导轨根据设计图纸规定的方向,将两侧及以上导轨固定焊接在墙体预埋金属件上,并用定制螺钉固定,同一门导轨应在同一垂直平面上。
10、测试先手动调试运行,用电机启闭几次,调整到无卡住,直到异常噪音等现象,开闭速度符合要求。所有调试后,安装防护罩。
11、清理,粉刷或镶嵌导轨墙面装饰层,清理现场杂物。
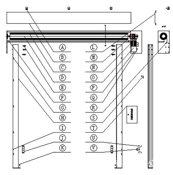
乐虎88国际快速门外观分解及各部分介绍。

A-角铁(固定门体导轨附件);B-封板(防尘);C-PVC窗帘;D-轴(轴径φ100);E-φ8螺钉(固定导轨和侧板);F-穿线孔(光线穿过);G-穿线管(固定接线位置);H-带刷导轨(窗帘布走位槽);I-穿线孔(带P接头);J-光电支架(固定光电);K-地脚螺钉(固定导轨);L-密封板(防尘);M-轴承(减少摩擦);N-编码器(定位);O-电机;P-电机运行摇杆(手动旋转杆);Q-抱闸杆(解除抱闸杆);R-窗帘布下摆(防止窗帘布摆动);S-雷达/遥控器;T-控制柜;U-钻尾钉;V-光电。
以上就是乐虎88国际快速门厂家提供安装快速门方法的相关内容,深圳乐虎88国际自动门有限公司14年专注设计和定制各种快速门,快速卷帘门、软帘快速门、洁净车间快速门、铝合金卷帘门、PVC快速卷帘门、涡轮车库快速卷帘门、水晶卷帘门、防火卷帘门、消防车用卷帘门、不锈钢卷帘门等。由于每个具体门洞尺寸不一,配置不一,所以需要根据客户的实际需求报价,请联系乐虎88国际 可快速获取报价,并提供一对一专属服务。
欢迎来电咨询:18038121879武经理(V信同号)


